
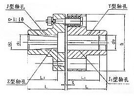
TL(LT)型彈性套柱銷聯軸器 特點及應用場合:具有補償兩軸線相對偏移和減振、緩沖性能,結構簡單,制造容易,不需潤滑,維修方便,徑向尺寸較大,適用于安裝底座剛性好,對中精度較高,沖擊載荷不大,對減振要求不高的軸系傳動,適用范圍-廣,是我國早通用標準聯軸器。不適用于高-速和低速重載工況條件。
TL(LT)型--基本型;
TLL(LTZ)型--帶制動輪型;

TL(LT)型彈性套柱銷聯軸器參數及主要尺寸:(GB/T4323-84<2002>) mm

電話: 0511-83998589 手機: 13952897281(徐經理) 13952802303(周經理) 18118972615(朱工) 郵箱: sales@zjlianxin.cn 地址: 鎮江市新區丁卯開發區潘宗工業園11號
Copyright ? 鎮江聯鑫聯軸器有限公司 版權所有 蘇ICP備14043855號-2 技術支持:江蘇易潤
專業生產:
